Apple 正研發能強化衛星連線功能的特殊 iPhone 保護殼

Author:

Published:

- 廣告 -

Apple 據報將會加強 iPhone 對衛星網絡的支援,不過其實早在 2024 年,Apple 就提交了一項專利申請,名稱為「具有衛星通訊功能的電子裝置及保護殼」(Electronic Device and Case with Satellite Communication Capabilities),顧名思義,這是一個可提升手機接收衛星訊號的手機殼,相信野外活動、遊船河時會很有用。

Apple 據報將會加強 iPhone 對衛星網絡的支援
Apple 據報將會加強 iPhone 對衛星網絡的支援

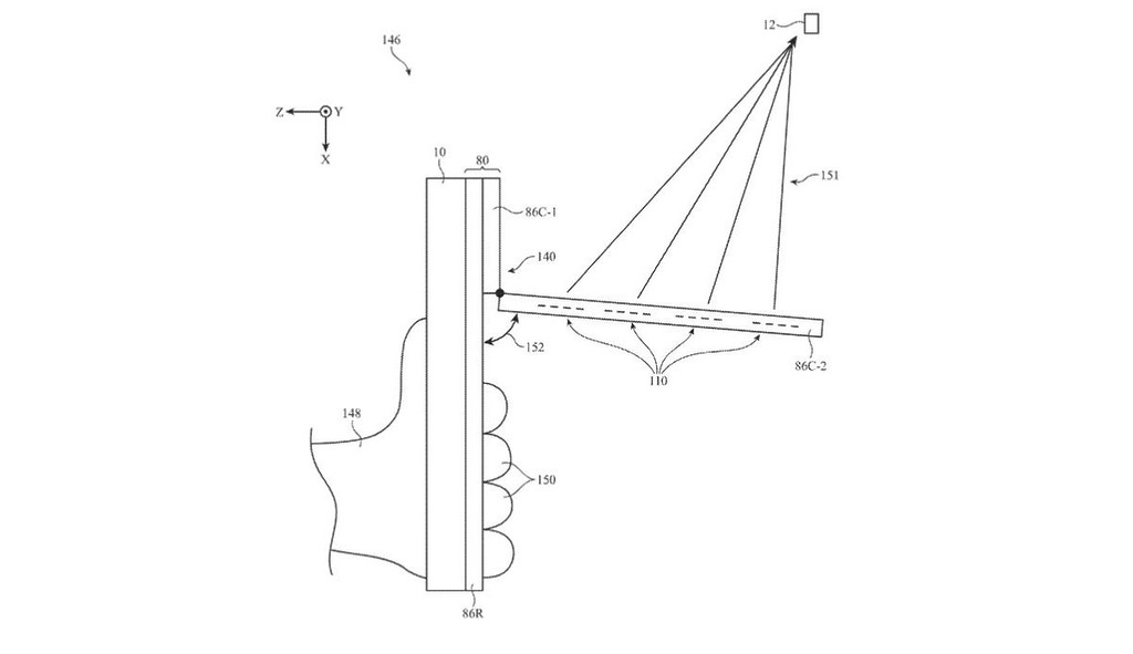
一般來說,手機的天線會放置在手機的邊框,而當在手持使用時,握持的動作難免會把天線遮擋,繼而影響接收。後來 Apple 於去年推出的 iPhone 17 Pro / Pro Max 大幅重新設計天線結構,將天線環繞於相機模組邊緣,以提升 5G / 4G 及 Wi-Fi 訊號的接收。不過要接連在大氣層外的衛星訊號,單靠新改良的手機天線位置也未必足夠,所以 Apple 才想到透過手機殼來提升 iPhone 接收衛星訊號的能力。這個設計其實是為手機殼加入一個可向外翻開的天線,這樣就能加大天線的接收面積,而且在使用時也不會被手遮擋。而根據 GSMArena 的報導指,有關的專利並不僅限於 iPhone,更可套用在 iPad 上,這是否意味著 Apple 或會為 iPad 也加入衛星通訊功能呢?

這個設計其實是為手機殼加入一個可向外翻開的天線,這樣就能增加大天線的接收面積,而且在使用時也不會被手遮擋。
這個設計其實是為手機殼加入一個可向外翻開的天線,這樣就能增加大天線的接收面積,而且在使用時也不會被手遮擋。

其實 Apple 正默默為手機殼加入新的功能,例於透過手機殼的 MagSafe 線圈加入辨識資訊,讓 iPhone 能根據原廠手機殼的顏色來改變手機介面的色調。另外在去年 11 月公開的一份專利文件顯示,Apple 或會為原廠手機殼加入類似觸控板的功能,作為操作介面的延伸

- 廣告 -
Buy Me a CPM: PCM 讀者會員資助計劃
- 廣告 -

Related Articles

- 廣告 -

Recent Articles

- 廣告 -

最新影片

- 廣告 -